IndoVirtue新加坡VPS评测:延迟低,三网直连,联通速度惊人

2022-10-31 1938阅读

温馨提示:这篇文章已超过872天没有更新,请注意相关的内容是否还可用!

IndoVirtue是一家成立于2010的印度尼西亚IDC商家,在2013年的时候开始经营美国和新加坡VPS业务,其中新加坡分为Budget和Premium线路,Budget线路为100Mbps端口,到内地绕路;Premium线路为1Gbps端口,直连内地,并且加钱可提供20G DDOS防御。采用主流SolusVM面板,新加坡机房提供ipv6,KVM架构可发工单提交自己的ISO文件。

IndoVirtue

如果选择新加坡VPS线路绕路的话就没什么意义了,但是因为KVM架构一直没货,所以VPS小学生入手了IndoVirtue这款Premium线路1核CPU、1G内存、20G SSD硬盘、400GB流量、1Gbps端口、OpenVZ架构、月付7美元的套餐,这里VPS小学生就测试下IndoVirtue新加坡VPS的性能和大家分享。

IndoVirtue新加坡VPS硬件测试

首先看一下IndoVirtue新加坡VPS的硬件测试。可以看到是E3-1230 v5处理器,单核3.4GHz的频率,CPU还不错。1G的内存基本没有默认的Swap内存,如果有默认的512M的Swap内存就好了。20G的硬盘,平均读写速度222MB/s,虽然不是很优秀,不过也不错,没拖后腿。可以看到是OpenVZ架构的。国内上传下载速度比较有意思。电信移动下载速度不错,基本都在50M以上,上传速度就很差了,只有几M。表现最好的是联通,下载速度上百甚至200多M,上传速度也不错,大部分都在50M以上,看来非常适合联通用户。看下内地的延迟:

IndoVirtue新加坡VPS国内ping

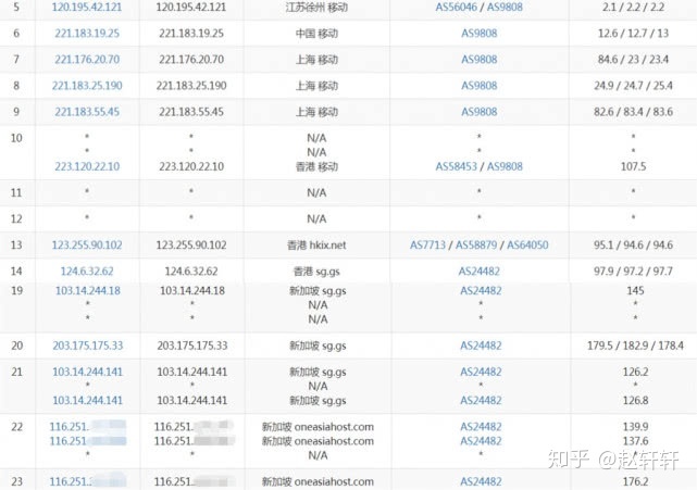
延迟很低很不错,只有87MS,看来应该是直连的,看下具体的电信联通移动三网路由:

IndoVirtue新加坡VPS电信路由

IndoVirtue新加坡VPS联通路由

IndoVirtue新加坡VPS移动路由

可以看到三网都是走香港PCCW直连的,很不错的路由,延迟低是有道理的,毕竟现在三网到新加坡都直连的新加坡VPS很少。可以看到是租用的OneAsiaHost的HostSG数据中心。看下具体看视频的速度:

IndoVirtue新加坡VPS看youtube

速度很不错啊,VPS小学生本地50M联通家庭带宽,看视频稳定在七八千,缓存一分钟多,看高峰期看1080P非常的流畅,非常不错的速度。只是根据之前测试节点的结果,电信移动用户估计速度就差不少了。三网直连,延迟还这么低,用来搭建网站很不错,这里就安装宝塔建站面板看看:

IndoVirtue新加坡VPS安装宝塔面板

可以看到在安装宝塔建站面板,并配置默认的LNMP环境之后,还有932M内存的剩余,还有18G内存的剩余,加之三网直连,硬盘读写速度还不错,对于想要新加坡VPS建站的朋友来说非常不错了。

以上就是VPS小学生对IndoVirtue新加坡VPS的评测,可以看到确实是三网直连西安联通vps西安联通vps,非常不错的线路,延迟也低。联通上传下载速度都非常快。电信移动下载速度快,但是上传比较差。用来搭建网站非常合适。如果是联通用户用来看视频也非常适合。因为直连延迟低,所以不管是电信联通还是移动用户,如果用来玩游戏也是很合适的。现在能三网直连的新加坡VPS不多,IndoVirtue新加坡VPS是个非常不错的选择。

原文出自:

VPS购买请点击我

免责声明:我们致力于保护作者版权,注重分享,被刊用文章因无法核实真实出处,未能及时与作者取得联系,或有版权异议的,请联系管理员,我们会立即处理! 部分文章是来自自研大数据AI进行生成,内容摘自(百度百科,百度知道,头条百科,中国民法典,刑法,牛津词典,新华词典,汉语词典,国家院校,科普平台)等数据,内容仅供学习参考,不准确地方联系删除处理! 图片声明:本站部分配图来自人工智能系统AI生成,觅知网授权图片,PxHere摄影无版权图库和百度,360,搜狗等多加搜索引擎自动关键词搜索配图,如有侵权的图片,请第一时间联系我们,邮箱:ciyunidc@ciyunshuju.com。本站只作为美观性配图使用,无任何非法侵犯第三方意图,一切解释权归图片著作权方,本站不承担任何责任。如有恶意碰瓷者,必当奉陪到底严惩不贷!

目录[+]